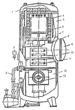
Электропечь сопротивления вакуумная элеваторная типа СЭВ-3.3/11,5 ФМ2
Заказать электропечь сопротивления вакуумная элеваторная типа сэв-3.3/11,5 фм2
Заказать электропечь сопротивления вакуумная элеваторная типа сэв-3.3/11,5 фм2
Для получения дополнительной информации и максимально выгодных условий приобретения, заполните нижеприведенную форму "Сделать запрос". В ближайшее время с Вами свяжется специалист.
Предложения похожие на Электропечь сопротивления вакуумная элеваторная типа СЭВ-3.3/11,5 ФМ2
Мультиметр трехфазный щитовой Omix P99-MY-3-0.5-4K-RS485
Прибор для измерения и индикации электрических параметров трехфазной сети переменного тока – силы тока, напряжения, частоты, мощности и коэффициента мощности, cos φ и энергии • Диапазон измерения силы тока: 0…5А (прямое подключение), 0...50кА (с тран...
Мультиметр трехфазный щитовой Omix P99-M-3-0.5
Прибор для измерения и индикации электрических параметров трехфазной сети переменного тока – силы тока, напряжения, частоты, мощности, cos φ и потребляемой энергии • Диапазон измерения напряжения: ~0…380 В (прямое подключение), ~0...1,14 МВ (с трансф...
Анализатор параметров трехфазной сети Omix P99-MLA-3-0.5-RS485
Прибор для измерения гармоник тока и напряжения, фазного напряжения, линейного напряжения, фазной силы тока, частоты тока, тока небаланса, напряжения небаланса, активной мощности, реактивной мощности, коэффициента мощности, активной энергии и реакт...
Амперметр трехфазный щитовой с релейным выходом Omix P99-AX-3-0.5-K
Прибор для измерения и индикации силы тока в трехфазных сетях переменного тока, сигнализации о выходе измеренных значений за установленные пределы • Диапазон измерения силы тока: ~0...5 А (прямое подключение), ~0...50 кА (с трансформатором) • Погрешн...
Мультиметр трехфазный Omix D4-MLA-3-0.5-RS485
Прибор для измерения гармоник тока и напряжения, фазного напряжения, линейного напряжения, фазной силы тока, активной, реактивной и полной мощности, частоты тока, коэффициента мощности, активной и реактивной энергии • Анализатор гармоник: до 21 включ...
Поделитесь страницей "Электропечь сопротивления вакуумная элеваторная типа СЭВ-3.3/11,5 ФМ2" в Социальных сетях
![]() | Электропечь сопротивления двухколпаковая водородная типа МАК (СГН-2.4.2/13 И2)Электропечь сопротивления двухколпаковая водородна | |
![]() | Электропечь сопротивления двухколпаковая вакуумная типа СГВ-2.4.2/15 И3"Электропечь сопротивления двухколпаковая вакуумна | |
![]() | Электропечь сопротивления вакуумная элеваторная типа СЭВ-3.3/11,5 ФМ2Электропечь сопротивления вакуумная элеваторная ти | |
![]() | Электропечь сопротивления двухколпаковая вакуумная типа СГВ-2.4.2/15 И3"Электропечь сопротивления двухколпаковая вакуумна | |
![]() | Электропечь сопротивления двухколпаковая водородная типа МАК (СГН-2.4.2/13 И2)Электропечь сопротивления двухколпаковая водородна | |














Оцените товар «Электропечь сопротивления вакуумная элеваторная типа СЭВ-3.3/11,5 ФМ2», по 5-ти бальной шкале.
Выберите одну из цифр: 1-min, 5-max
В окне для комментариев вы можете оставить свой отзыв.