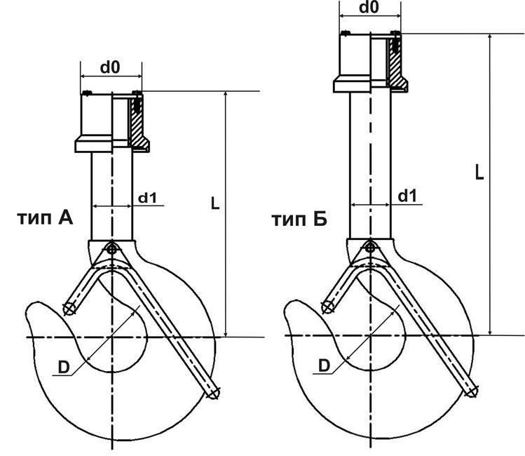
Крюки крановые, Крюки чалочные и крановые, крановые крюки
Заказать крюки крановые, крюки чалочные и крановые, крановые крюки
Предложения похожие на Крюки крановые, Крюки чалочные и крановые, крановые крюки
Крановые весы КВ-20000-И с индикацией на пульте
Крановые (подвесные) весы предназначены для статического измерения веса тарно-штучных грузов и контейнеров, подвешиваемых на крюк крана, лебедки или тельфера, в производственных помещениях и на открытых площадках. Крановые весы УРАЛВЕС КВ-И применяют...
Весы крановые КВ-15000-И (с индикацией на пульте)
Весы крановые (подвесные) измеряют массу груза, подвешенного на грузоприемное устройство в виде крюка. Результат взвешивания отображается на встроенном индикационном табло, удобном для считывания показаний даже с большого расстояния, для моделей КВ-И...
Весы крановые КВ-10000-И (с индикацией на пульте)
Весы крановые (подвесные) измеряют массу груза, подвешенного на грузоприемное устройство в виде крюка. Результат взвешивания отображается на встроенном индикационном табло, удобном для считывания показаний даже с большого расстояния, для моделей КВ-И...
Весы крановые КВ-5000-И (с индикацией на пульте)
Весы крановые (подвесные) измеряют массу груза, подвешенного на грузоприемное устройство в виде крюка. Результат взвешивания отображается на встроенном индикационном табло, удобном для считывания показаний даже с большого расстояния, для моделей КВ-И...
Крановые весы КВ-3000-И с индикацией на пульте
Крановые (подвесные) весы предназначены для статического измерения веса тарно-штучных грузов и контейнеров, подвешиваемых на крюк крана, лебедки или тельфера, в производственных помещениях и на открытых площадках. Крановые весы УРАЛВЕС КВ-И применяют...
Поделитесь страницей "Крюки крановые, Крюки чалочные и крановые, крановые крюки" в Социальных сетях









Оцените товар «Крюки крановые, Крюки чалочные и крановые, крановые крюки», по 5-ти бальной шкале.
Выберите одну из цифр: 1-min, 5-max
В окне для комментариев вы можете оставить свой отзыв.